高饶网

​动能与什么有关

点击: 来源:高饶网
摘要:动能与什么有关 动能与什么有关实验:探究物体的动能与哪些因素有关 命题要点: 1. 使钢球获得动能的操作方法:将钢球由某一高度静止释放 2. 转换法的应用(通过木块被撞击后移动的距

动能与什么有关

动能与什么有关实验:探究物体的动能与哪些因素有关

命题要点:

1. 使钢球获得动能的操作方法:将钢球由某一高度静止释放

2. 转换法的应用(通过木块被撞击后移动的距离反映钢球动能的大小)

3. 控制变量法的应用

(1)探究动能大小与速度的关系:控制质量不变,改变速度,具体做法是让两个质量相同的钢球从斜面上的不同高度由静止释放;

(2)探究动能大小与质量的关系:控制速度相同,改变质量,具体做法是让两个质量不同的钢球从斜面上同一高度由静止释放.

4. 让钢球从同一位置由静止释放的目的:控制钢球到达水平面的速度相同[2016.18(2)第1空]

5. 让质量相同的钢球从不同高度静止释放的目的:改变钢球到达水平面的速度

6. 设计、补充实验步骤

7. 分析数据和现象,总结结论[2016.18(4)]

8. 比较木块在水平面运动时滑动摩擦力的大小变化:不变

9. 钢球在水平面上不能立即停下的原因:钢球具有惯性

10. 木块在水平面上最终会停下来:受到摩擦力(阻力)的作用

11. 实验中的能量转化:钢球加速下滑时主要将重力势能转化为动能,木块被撞后运动过程中将机械能转化为内能

12. 实验评估

(1)探究过程是否控制变量[2016.18(3)];

(2)实验方案是否可以准确反映物体动能大小:若水平面绝对光滑,不能比较木块通过的距离,无法完成实验;

(3)实验操作是否安全可靠

13. 实验改进

(1)木块被撞后滑出木板:换质量更大的木块或换质量较小的钢球或换长度较长的木板[2016.18(3)];

(2)木块在水平面滑行距离太短:减小木块的质量或增大钢球由静止释放的高度

实验结论:物体动能的大小与物体的质量和速度有关.①质量相同的物体,运动的速度越大,它的动能越大;②运动速度相同的物体,质量越大,它的动能也越大.

针对训练:

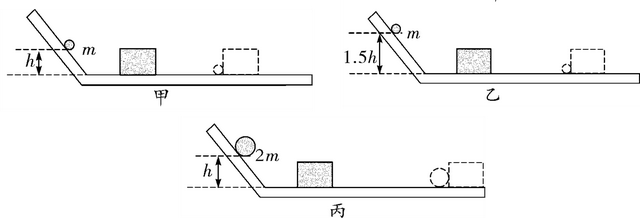
小明所在的实验小组在“探究影响动能大小的因素”实验中,准备的器材有:质量分别为m、2m的两个钢球、木块和斜面等.实验过程如图甲、乙、丙所示.

(1)本实验是通过__________________________来反映________(选填“木块”或“钢球”)的动能,这种研究问题的方法叫做______________.

(2)小明进行甲、乙实验时保持钢球的________不变,探究的是动能与________的关系,得出的结论_______________________________________________.

(3)小明根据乙、丙两图得出的结论是“物体的质量越大时动能越大”,他的看法是否正确?________,理由_____________________________________________.

(4)实验中钢球滑动到斜面底端后会继续向前运动,是因为钢球具有________;木块最终会停下来是因为受到________________的作用;如果水平面绝对光滑,________(选填“能”或“不能”)达到实验探究的目的,原因是___________________________________.

(5)在甲、乙两次实验中木块移动时受到的摩擦力分别为f1、f2,则f1_______

f2(选填“>”“=”或“<”),克服摩擦力做的功W1______W2,木块滑行的过程中,机械能转化成________能.

(6)实验过程中小明发现实验现象不明显,老师指出小明实验中木块被撞击后移动的距离差异较小,实验现象不明显,为确保实验有较明显的现象,可行的一种方案是______________________________________.

(7)小明探究动能大小与速度的关系时,拿走了木块,在水平木板上铺上毛巾,通过比较钢球在毛巾面上滚动的距离,也得出了正确的结论,你认为他的方案是否合理:________,理由是_____________________________

相关文章

    ​老婆外面有人了还能挽回吗

    ​怎么面对小气的老公出轨:用6招直接制服

    ​怎么面对小气的老公出轨:用6招直接制服

    ​菊花茶孕妇能喝吗(雪梨菊花茶孕妇能喝吗)

    ​菊花茶孕妇能喝吗(雪梨菊花茶孕妇能喝吗)

    ​老公出轨怎么挽救_怎么处理?3步挽救丈夫

    ​老公出轨怎么挽救_怎么处理?3步挽救丈夫

    ​送女生巧克力的含义 赠送巧克力代表什么

    ​送女生巧克力的含义 赠送巧克力代表什么

    ​人临死前会说哪些的话

    ​人临死前会说哪些的话

    ​ps如何去除水印 PS怎么去水印?精选三个办法

    ​ps如何去除水印 PS怎么去水印?精选三个办法

    ​怎样快速练成劈叉(如何快速练成一字马劈叉)

    ​怎样快速练成劈叉(如何快速练成一字马劈叉)

    ​掌握这3个技巧,女人主动向你表白不是梦

    ​掌握这3个技巧,女人主动向你表白不是梦

    ​怎样才算初恋脸?四大特点一个都不能少!

    ​怎样才算初恋脸?四大特点一个都不能少!

    ​出轨的女人会离婚吗

    ​出轨的女人会离婚吗

    ​怎么拿捏虚荣心很强的男人和女人

    ​怎么拿捏虚荣心很强的男人和女人

    ​京剧有没有赵飞燕

    ​京剧有没有赵飞燕

    ​终于等到了!云南这些高校确定开学时间

    ​终于等到了!云南这些高校确定开学时间

    ​异地恋怎么维持?坚守真爱的5点法则

    ​异地恋怎么维持?坚守真爱的5点法则